
TurMass? Link
TurMass? 網關
TurMass? 傳感器
TurMass? 語音
TurMass? 模組
LoRaWAN網關
LoRaWAN傳感器
4G/以太網傳感器
Cat.1傳感器
NB-IoT傳感器
軟件平臺
NB-IoT地磁(埋入式)
TBS-N210
無線車輛檢測器(表貼式)
TBS-N223
無線車輛檢測器(表貼式)
TBS-223
獨立式光電感煙火災探測報警器
JTY-GD-TCN2010
獨立式光電感煙火災探測報警器
JTY-GD-TCN2010
無線手動報警按鈕
TBS-150
無線火災聲光警報器
TBS-130
無線火災聲光警報器
TBS-N131
無線手動報警器
TBS-N150
無線火災聲光警報器
TBS-130
無線手動報警按鈕
TBS-150
底座式無線感溫報警器
TBS-140
底座式無線感溫報警器
TBS-N140
無線遠程壓力采集終端
TBO-L1700
無線遠程壓力采集終端
TBO-N1700
無線遠程液位采集終端
TBO-L1710
無線遠程液位采集終端
TBO-N1710
無線智能消防栓監測終端
TBO-N1720
無線智能消防栓監測終端
TBO-L1720
組合式電氣火災監控探測器
TBS-500
UWB 信標
WTU-102
TurMass? 室內物聯網網關
TBG-600
UWB網關
WTU-212
TurMass? 室外物聯網網關
TBG-610
UWB定位終端模塊/工牌
WTU-301
智能斷路器
TBS-510
用戶信息傳輸裝置
TBO-M1830-A
TurMass? 定位物聯網網關
WTU-221
無線智能藥盒
MB-100
GNSS定位終端模塊
WTU-322
aiTalk 長距離無網通訊手機伴侶
ATK-100
TurMass? Link 多通道網關
TBG-710
LoRaWAN數傳終端傳輸器
TBD-100
JTY-GD-TCN2010
獨立式光電感煙火災探測報警器
Cat.1地磁(埋入式)
TBS-N210
愛培智能藥箱
MB-200
智能藥盒
MB-100
TTL 物聯網平臺
TSMP-A120
TWP 智慧停車管理平臺
TWPS-A100
TPI 智慧園區停車引導平臺
TPIS-A100
THF 智慧用藥健康管理平臺
THFS-A100
TSF 智慧消防管理平臺
TSFS-A100
人員計數監測雷達
WTR-812
用戶信息傳輸裝置
TBO-M1830-B
Cat.1 工業數傳終端
TBD-110
TurMass?數傳終端傳輸器
TBD-100
微波雷達交通計數器
TBRVC310
LoRaWAN地磁
TBS-N210-L
不定位式水浸控制器
TBO-171-DT
LoRa無線防水門磁報警器
TBS-160S
LoRa 無線水浸傳感器
TBS-170
LoRaWAN 室外物聯網網關
TBG-531
LoRaWAN 室內物聯網網關
TBG-540
TurMass? Link數據傳輸終端
TBD-700
TurMass?Link 終端模組
TBM-700
TurMass? Link中繼器
TBR-700
智能照明控制模塊
TBO-1920-DT
智能遠傳冷水水表
TBO-1730-DT
智能斷路器
TBO-1930-DT
數字電能表
TBO-1910-DT
二氧化碳濃度監測終端
TBO-1030-DT
揮發性有機化合物TVOC監測終端
TBO-1040-DT
光照溫濕度監測終端
TBO-1020-DT
多要素環境監測終端
TBO-1010-DT
TurMass?低頻段標準模組
TBM-400
TurMass? 低頻段大功率模組
TBM-400-P
TurMass?數字手持對講機
TBW-100
TurMass? 無線數字手持對講機
TBW-110
TurMass? 領夾式迷你數字對講機
TBW-120
智能遙控車位鎖
TBO-2000
組合式電氣火災探測器
TBS-500
無線防水門磁報警器
TBS-N160S
視覺讀表終端
TBO-N1740
緊急報警按鈕
TBS-N152
本期測評的主角是無線光電感煙火災探測報警器,安裝無線煙感對于九小場所、古鎮老街、智慧社區、學校等場所來說,已經比較常見,不過,大家是否知道無線煙感是怎樣守護消防安全的呢?小編借用了某園區的儲貨倉庫,安裝了這款無線光電感煙火災探測報警器,來為大家仔細分析一下這款無線煙感的功能和優勢。


安裝好無線光電感煙火災探測報警器,小編首先通過指定智慧消防平臺管理頁面添加設備信息(所屬系統、應用平臺、設備名稱、設備編號、安裝位置、聯系人、聯系電話等)。


設備添加完成后,會在設備信息菜單欄里面顯示設備狀態的信息,以及在智慧消防平臺首頁的GIS地圖上顯示設備的地理位置、報警狀態實時展示及報警數據統計等信息。


設備添加完畢后,嘗試無線光電感煙火災探測報警器功能。這款無線光電感煙火災探測報警器基于LoRa/NB-IoT無線通信技術設計,具備遠距離無線通信能力的產品,無需布線,安裝簡單。可檢測煙霧濃度,超標立即報警,該設備可現場語音和燈光報警,系統具備全面的設備狀態監測,還支持遠程設備運維,可大大提高火災報警準確率,讓煙感的功能更人性化,同時設備運維也更容易。
這款無線煙感適用于在獨居老人居所/養老院、九小場所、古鎮老街、智慧社區、學校等場所,小編總結了以下幾個原因:一、原有的前端感知設備不齊全,無法準確快速的定位火源始發地;二、街邊商鋪、住宅、老舊小區數量多,分散廣,難以敷設線路,改造困難;三、人員密度大,弱勢群體集中,遇到火情逃生不便;四、電氣線路超負荷或老化造成短路,有火災隱患。
對于智慧消防系統來說,這都不算事兒。智慧消防系統的幾大特點:1、統一平臺管理,集中化,數據化,可視化;2、前端感知設備齊全;3、易部署、交付快、成本低;4、支持遠程調試及運維。
這款產品與傳統消防煙感探測器最大的差別究竟在于哪里呢?
第一點區別,布線。傳統煙感探測器是需要布線的,無線光電感煙火災探測報警器是不需要布線的。該探測器是基于LoRa/NB-IoT無線通信技術聯網。
第二點區別,安裝問題。布線問題直接導致了兩者的安裝難度問題,有線煙感探測器布線在一些場所比較大的情景下是花費大量人力物力的,尤其是廠區,屋頂很高,又沒有平臺,想布線是難上加難。這種場景下,無線光電感煙火災探測報警器就能顯現出自身的優勢了,安裝方便算無線探測器最大的好處之一。
第三點區別,維護問題。傳統煙感探測器在發生問題時,需要專業人士到現場進行排查,很難找到問題點。但無線光電感煙火災探測報警器,在故障檢查方面有更好的智能性,煙感探測器的故障問題會自動上傳到智慧消防平臺的后臺,只需要查看相關報文就能了解具體是什么問題,維護方面可以說是對傳統煙感探測器進行了全面的升級。
這款無線光電感煙火災探測報警器的功能效果如何?
1、 支持LoRa/NB-IoT無線通信方式組網,電池供電,施工簡單方便;
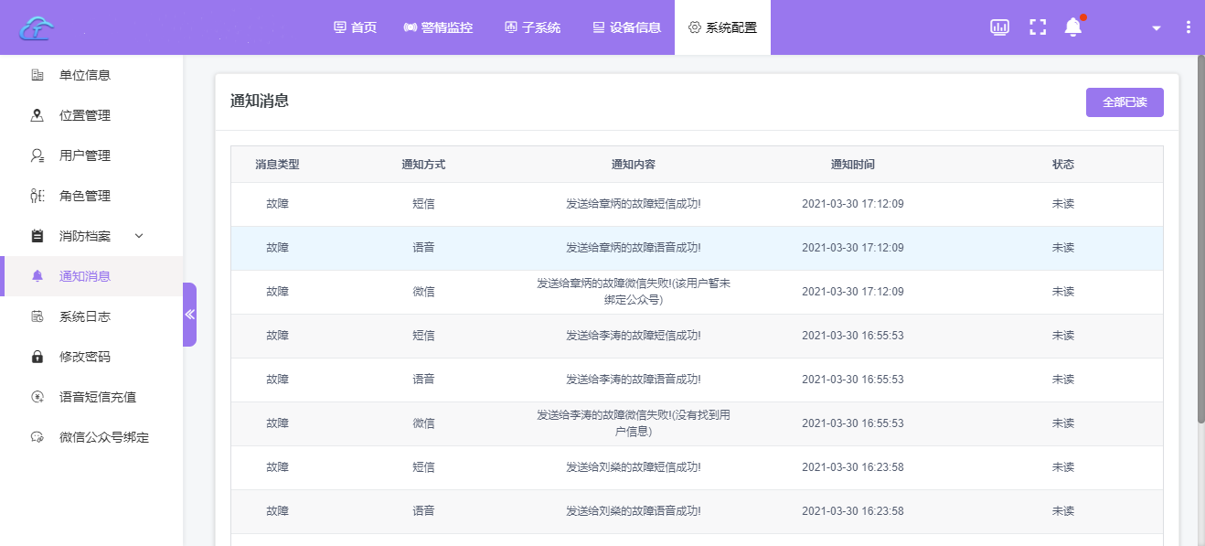
2、 本地語音和燈光、遠程電話、短信和微信,報警及時;
3、 煙霧濃度和溫度無線上報,現場火情了解更準確;
4、 全面的設備狀態監測,設備管理和維護更簡單;
5、 微信遠程消音、遠程配置,跨平臺和空間,使用方便;
6、 CCCF認證+財產保險,為火災提供全方位安全保障。


此外,這款無線光電感煙火災探測報警器支持超長電池續航,預計可使用3年,一旦進入低電量狀態,便會給相關人員發送低電量告警信息,提醒更換電池。總之,這款無線光電感煙火災探測報警器的意義是將火災隱患防范于未“燃”,保證人民生命財產安全,構造和諧社會。
使用LoRa、NB-IoT混合組網的方式,可以實現對管理區域內所有無線光電感煙火災探測報警器24H實時在線監控、秒級火災預警和報警、多種報警通知方式,能夠及時有效的減少傷亡和損失,為人民生命財產筑起一道安全屏障。
更多產品參數詳見下表


